83. Un cilindro neumático tiene las siguientes características: Diámetro del émbolo: 100 mm, diámetro del vástago: 20 mm, carrera: 700 mm, presión de trabajo: 6 Kg/cm2. Si realiza 5 ciclos por minuto, se pide:
a. Calcular la fuerza que ejerce en ambas direcciones.
b. Calcular el caudal de aire en condiciones normales, expresado en m3/s.
84. El volumen de aire desplazado por el émbolo de un cilindro de doble efecto, en un ciclo completo, es de 2 litros medido a la presión de trabajo. La fuerza nominal en la carrera de avance es 16.000 N y la presión de trabajo 0,5 MPa. La fuerza de rozamiento es el 10 % de la fuerza teórica. El diámetro del vástago es de 25 mm. Calcular:
a. El diámetro del émbolo.
b. La carrera del émbolo.
85.- Un líquido no viscoso de densidad 0,9 g/cm3, circula a través de una tubería horizontal con un caudal de 2 l/s. La tubería tiene dos secciones transversales diferentes. La más ancha tiene un diámetro de 10 cm y la más estrecha un diámetro D2. La presión en los dos tramos se mide con
dos manómetros y resulta ser, en el tramo de 10 cm de diámetro, de 30 kp/cm2 y, la del tramo más estrecho, de 6 kp/cm2. Calcule:
a. La sección transversal del tramo de diámetro D2.
b. La velocidad en cada tramo de la tubería.
86.- Una tubería horizontal de 80 mm de diámetro conduce agua con una velocidad de 2 m/s a una presión de 15 kPa. La tubería tiene un estrechamiento, siendo la presión en el mismo de 2,5 kPa. Densidad del agua 1000 kg/m3. Se pide:
a. Dibujar un esquema del dispositivo y calcular la velocidad del agua en el estrechamiento.
b. Calcular el diámetro del estrechamiento.
c. La velocidad en cada tramo de la tubería.
87.- Por una tubería horizontal de 3 cm de diámetro circula un fluido hidráulico con una velocidad de 6 m/s. Se pide:
a. Determinar el caudal en m3/s.
b. Calcular cuál será la velocidad del fluido en un punto de la conducción en el que hay un estrechamiento de 10 mm de diámetro.
88.- Por una tubería de 4 cm de diámetro circula un caudal de 200 l/min de un fluido hidráulico cuya densidad es de 925 kg/m3. Determine:
a. La velocidad del fluido.
b. El régimen de circulación, sabiendo que la viscosidad dinámica es 0,0006 N·s/m2.
89.- La bomba de un pozo que está instalada a 4 m de profundidad, tiene un diámetro de 120 mm y una carrera de 250 mm, dando 30 emboladas por minuto. Calcule:
a. El caudal suministrado por la bomba.
b. La potencia absorbida por el motor, suponiendo que el rendimiento sea del 60%.
90.- Una máquina neumática dispone de dos cilindros de doble efecto cuyas dimensiones se muestran en la figura. Los cilindros están alimentados con una presión de trabajo de 3 MPa y realizan 200 ciclos por hora cada uno. Se pide:
a. Calcular las fuerzas de avance y retroceso de cada cilindro.
b. El caudal de aire, a la presión de trabajo, que debe suministrar el compresor para abastecer a la
máquina, en m3/min.

91.- Por un tubo horizontal circula agua con un caudal de 3 l/s. En un punto del mismo, de sección transversal 4,5 cm2, la presión manométrica es de 0,1 kp/cm2, Si en dicho tubo hay un cambio de sección donde la presión manométrica es de 0,3 kp/cm2, calcule:
a. La velocidad en los dos tramos del tubo (en el de 4,5 cm2 de sección y en el cambio de sección).
b. El diámetro del tubo en el tramo donde cambia la sección.
92.- Se desea elevar un peso de 120 kg con un cilindro neumático. La presión de trabajo es de 6 bares y las pérdidas por rozamiento del 10 %. Calcule:
a. El diámetro del cilindro.
b. El nuevo diámetro, si se quiere aplicar un coeficiente de seguridad del 30 % de la fuerza.
93.- Los dos pistones de una prensa hidráulica tienen por secciones A1=5 cm2 y A2=200 cm2. La fuerza aplicada perpendicularmente a la sección menor es de 98 N. Se pide:
a. Dibujar el esquema de la prensa y calcular el peso que podrá levantar.
b. Calcular el desplazamiento del pistón mayor cuando el pistón pequeño baja 0,1 m.
94.- En una fábrica de reciclaje industrial se desea bombear aceite a una velocidad de circulación de 15 m/s ya una presión de trabajo de 10 MPa. El diámetro de la conducción es de 1,2 cm. La densidad y viscosidad cinemática del aceite a 20° C, son 0,95 kg/l y 1,85 cm2/s, respectivamente.
Calcule:
a. El caudal que circula por la tubería, expresado en l/min, y la potencia absorbida, suponiendo un rendimiento del 78 %.
b. Determinar el régimen de circulación del aceite.
95.- En una almazara se desea bombear aceite de oliva virgen a una velocidad de circulación de 1 m/s y a una presión de trabajo de 5 MPa. El diámetro de la conducción es de 40 mm. La densidad y viscosidad cinemática del aceite a temperatura ambiente es de 0,919 Kg/dm3 y 0,9 cm2/s,
respectivamente. Calcule:
a. El caudal que circula por la tubería y la potencia absorbida, suponiendo un rendimiento de 78 %.
b. Determine el régimen de circulación del aceite.
96.- Una máquina consta de un cilindro de doble efecto alimentado a una presión de trabajo de 0,6 MPa, realizando 120 ciclos a la hora. Sabiendo que la carrera es de 250 mm, el diámetro del émbolo 120 mm, el diámetro del vástago 20 mm, y suponiendo que las fuerzas de rozamiento son nulas, calcule:
a. Las fuerzas de avance y retroceso del cilindro.
b. El caudal de aire en condiciones normales que debe aspirar el compresor para abastecer la máquina.
97.- Un fluido hidráulico circula por una tubería horizontal de 4 cm de diámetro a una velocidad de 8 m/s. Calcule:
a. El caudal de circulación.
b. La velocidad del fluido en un punto de la tubería donde se reduce el diámetro a 15 mm.
98.- Un cilindro de simple efecto de retorno por muelle, se encuentra realizando trabajo por compresión conectado a una red de aire de 0,6 MPa de presión. Si el diámetro del émbolo es 40 mm, la fuerza de rozamiento del 10 % de la teórica y la fuerza de recuperación del muelle del 6 % de la teórica, se pide:
a. La fuerza de empuje en el avance.
b. La fuerza de retroceso.
99.- Un dispositivo neumático dispone de un cilindro de doble efecto con las siguientes características: diámetro del émbolo 90 mm; fuerza teórica de retroceso 3.393 N; presión de trabajo 6·105 Pa; pérdidas por rozamiento 10 % de la fuerza teórica. Calcule:
a. La fuerza de empuje en el avance.
b. El diámetro del vástago.
100.- Un cilindro neumático vertical de simple efecto con retroceso por gravedad (sin muelle), debe elevar una carga total de 50 kp (incluida la necesaria para vencer el rozamiento), con una presión de trabajo de 0,7 MPa. Si debe realizar 12 maniobras por minuto, calcule:
a. El diámetro del cilindro a elegir.
b. El consumo de aire a la presión de trabajo, si la carrera es 500 mm.
101.- En un cilindro neumático de simple efecto, la presión de trabajo es de 500 KPa y la fuerza teórica de avance es de 1.000N. Sabiendo que las pérdidas de fuerza por rozamiento son del 10% y la fuerza de recuperación del muelle del 6%. Calcular:
a. La fuerza nominal de avance.
b. El diámetro del émbolo.
c. En un sistema hidráulico indicar la misión del filtro hidráulico y dibujar su símbolo.
102.- Una empresa dedicada a la manufactura de piezas de acero pretende realizar grabados sobre el metal. La fuerza requerida es 35·104 N. Se dispone de una prensa hidráulica con diámetro de émbolos de 150 mm y 550 mm. Se pide:
a. Calcular la fuerza que ha de suministrarse al émbolo pequeño.
b. Si el émbolo mayor se desplaza 1 mm, ¿cuánto se desplaza el émbolo pequeño?
c. La fuerza que un cilindro de simple efecto ejerce en el retroceso, ¿es la misma que en el avance? Justifique la respuesta.
103.- Por una tubería de 60 mm de diámetro circula aceite de 900Kg/m3 de densidad, con un caudal de 2 m3/h. Se pide:
a. Calcular la velocidad de circulación del aceite.
b. El régimen de circulación si la viscosidad dinámica es de 0,000676 .s/m2.
c. Principio de Pascal. Enunciado y aplicación a la prensa hidráulica.
104.- El volumen de aire desplazado por el émbolo de un cilindro de doble efecto, en un ciclo completo y medido a la presión de trabajo de 2 MPa, es de 3 dm3. La fuerza nominal en la carrera de avance es de 9.000 N y la fuerza de rozamiento es del 10% de la fuerza teórica. El diámetro del vástago es de 25 mm. Se pide:
a. Calcular el diámetro del émbolo.
b. Calcular la carrera del émbolo.
c. Describir el funcionamiento de un compresor radial.
105.- Para elevar verticalmente una carga de 150 N, con una velocidad uniforme de 1 m/s, se emplea un cilindro de simple efecto, fuerza del muelle 50 N, alimentado por una presión de 500 kPa. Se pide:
a. Calcular el diámetro mínimo del cilindro.
b. Calcular el caudal mínimo de alimentación.
c. Dibujar el esquema de un cilindro de simple efecto indicando sus partes.
106.- Por una tubería horizontal de 10 mm de diámetro circula un fluido de 0,85 Kg/dm3 de densidad. En un tramo del circuito hay un estrechamiento de 5 mm de diámetro. En el tramo ancho la presión es de 25·105 Pa y en el estrecho 15·105 Pa. Se pide:
a. Determinar la velocidad del fluido en ambos tramos.
b. Calcular el caudal.
c. Explicar cómo puede ser el régimen de circulación de un fluido y cómo se determina.
107.- Un cilindro de simple efecto y retroceso por muelle de constante 120 N·cm-1, que tiene perdidas por rozamiento del 15 % de la fuerza teórica y está conectado a una red de aire de 1,1 MPa de presión. El embolo tiene un diámetro de 12 cm y su carrera es de 4 cm. Se pide:
a. Calcular la diferencia entre las fuerzas ejercidas por el vástago al comienzo del ciclo de trabajo (con el muelle estirado a su longitud natural) y al final de la carrera.
b. Calcular el consumo de aire en condiciones normales, si efectúa 10 ciclos por minuto.
c. Denominar e indicar la aplicación/es de los elementos representados.

108.- Se desea bombear biodiesel, cuya densidad y viscosidad cinemática a temperatura ambiente son, respectivamente, 0,870 kg/litros y 0,04 cm2/s, a una velocidad de 2m/s y una presión de trabajo de 6 MPa, por una conducción de 3 cm de diámetro. Se pide:
a. Calcular el caudal y la potencia absorbida, suponiendo un rendimiento del 0,82.
b. Calcular el régimen de circulación del biocombustible.
c. Dibujar de forma esquemática un cilindro de doble efecto y explicar su funcionamiento.
109.- Un cilindro neumático de doble efecto tiene un émbolo de 65 mm de diámetro con un vástago de 10 mm de diámetro. La presión de trabajo es de 5·105 Pa. Se pide:
a. Calcular la fuerza de avance.
b. Calcular la fuerza de retroceso.
c. Dibuje los símbolos de los siguientes elementos neumáticos y explique la función que realizan: válvula antirretorno, válvula 4/2 accionada neumáticamente en ambos sentidos y cilindro de simple efecto con retorno por muelle.
110.- En un circuito oleohidráulico circula aceite a una velocidad de 2 m/s y 100 N/cm2 de presión. El diámetro de la tubería es 21,70 mm. El rendimiento de la instalación es el 85 %. Se pide:
a. Calcular el caudal que circula.
b. Calcular la potencia de la bomba.
c. Bombas hidráulicas: funcionamiento y características.
111.- En un cilindro neumático de doble efecto, el émbolo tiene un diámetro de 70 mm y el vástago de 20 mm. La carrera es 100 mm y la presión de trabajo 0,6 MPa. Se pide:
a. Calcular la fuerza de retorno.
b. Calcular el volumen de aire que necesita para realizar un ciclo completo.
c. Nombrar y describir las partes de un cilindro de doble efecto.
112.- Se dispone de una prensa hidráulica cuyos émbolos tienen secciones de 50 cm2 y 250 cm2. Con ella se desea elevar una masa de 400 kg. Se pide:
a. Calcular la fuerza que hay que aplicar al émbolo pequeño.
b. Calcular cuánto se desplazará el émbolo grande si el pequeño se desplaza 25 mm.
c. Defina la cavitación.
113.- Se desea diseñar un cilindro de doble efecto cuyo émbolo soporte en el avance una fuerza de 3000 N, con una carrera de 9 cm.
Se pide:
a. Calcular el diámetro del émbolo, sabiendo que el diámetro del vástago es 20 mm y el consumo de aire medido a la presión de trabajo es 0,8 litros por ciclo.
b. Calcular la presión de trabajo, despreciando la fuerza de rozamiento.
c. Indicar cómo se puede calcular la potencia hidráulica en función del caudal. Unidades en el S.I de las magnitudes que intervienen en el cálculo.
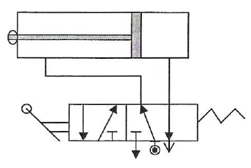
114.- En relación con el esquema de la figura, se pide:
a. El nombre y la función de cada elemento.
b. Si la sección del émbolo es de 10 cm2 y la presión del aire comprimido 600 KPa, calcular la fuerza ejercida en el movimiento de avance.
c. Definir la viscosidad de un fluido.
115.- Una trituradora neumática dispone de un cilindro de doble efecto cuyo diámetro del émbolo es de 60 mm, el diámetro del vástago es de 20 mm, la carrera es de 300 mm y la presión de trabajo de 400 KPa. Presión atmosférica 105 Pa. Se pide:
a. La fuerza de retorno.
b. El volumen de aire en condiciones normales que se necesita para realizar un ciclo completo.
c. Nombre de dos tipos de válvula de caudal y describa su funcionamiento.
116.- Se desea elevar un automóvil de masa 1750 Kg mediante una prensa hidráulica cuyos émbolos tienen 35 cm2 y 275 cm2 de sección. Se pide:
a. Calcular la fuerza que hay que aplicar en el émbolo pequeño.
b. Calcular cuánto se desplazará el émbolo grande si el pequeño es desplaza 50 mm.
c. Explicar cómo puede ser el régimen de circulación de un fluido y como se determina.
117.- Por una tubería de 11,4 mm de diámetro, circula un fluido a una velocidad de 2,5 m/s y a una presión de 50 kp/cm2. Se pide:
a. Calcular el caudal.
b. Calcular la potencia absorbida suponiendo un rendimiento del 78 %.
c. Dibujar el esquema para el mando de un cilindro de simple efecto, accionado indistintamente desde dos puntos (puerta “OR” neumática) e identifique los elementos que lo forman.
118.- a. Calcular el trabajo de expansión en un cilindro de 80 mm de diámetro, con un gas en su interior a presión constante de 400 kPa y produciendo un desplazamiento del émbolo de 30 cm.
b. Calcular la potencia de una bomba de agua que eleva 150 m3 a 25 m de altura en 50 minutos. Densidad del agua: 1000kg/m3.
d. ¿Cómo se calcula la potencia de rotación? ¿En qué unidades se expresan sus factores?
119.- Por una tubería horizontal de 3 cm de diámetro circula un fluido hidráulico a una velocidad de 6m/s. Se pide:
a. Determinar el caudal.
b. Calcular la velocidad del fluido en un estrechamiento de la tubería donde el diámetro es de 10 mm.
c. Indicar el principio en el que se basa el funcionamiento de la prensa hidráulica. Dibujar su esquema.
120.- Un cilindro de doble efecto, conectado a una red de aire comprimido de 5 bares, tiene un émbolo de 80 mm de diámetro y realiza un ciclo de funcionamiento cada 6 segundos, con carreras de 0,5 m. El émbolo tiene un vástago de 25 mm de diámetro. Se pide:
a. Calcular la fuerza que ejerce el vástago en la carrera de avance y en la de retroceso.
b. Calcular el volumen de aire que consume el cilindro en condiciones normales.
c. Dibujar el esquema de mando de un cilindro de doble efecto.
121.- Una estación de tratamiento de agua potable bombea agua por una tubería horizontal de 30 mm de diámetro, con una velocidad de 4 m/s. Se pide:
a. Calcular el caudal de agua en l/min.
b. Determinar la velocidad en un punto de la misma tubería en el que el diámetro sea de 20 mm.
c. ¿En qué consiste el efecto Venturi?
122.- Los diámetros de los émbolos de una prensa hidráulica son 0,1 m y 1 m. La fuerza aplicada al émbolo menor es 100 N. Se pide:
a. La masa que podrá levantar la prensa.
b. El desplazamiento del émbolo mayor cuando el pequeño baja 0,2 m.
c. Definir los conceptos de caudal y flujo laminar.
123.- Una máquina consta de un cilindro neumático de doble efecto alimentado por una presión de trabajo de 0,35 MPa realizando 150 ciclos a la hora. Sabiendo que el diámetro del émbolo es de 150 mm, el diámetro de vástago 25 mm y la carrera 400 mm. Se pide:
a. Calcular las fuerzas de avance y retroceso del cilindro.
b. El caudal de aire en condiciones normales que debe suministrar el compresor para abastecer al cilindro.
c. Principio de funcionamiento de un compresor dinámico.
124.- Un cilindro neumático de simple efecto, de 10 cm de diámetro y 15 cm de carrera, realiza 48 ciclos por minuto. Presión de trabajo 500 kPa. Se pide:
a. El caudal de aire en litros por minuto, en condiciones normales.
b. Potencia del motor de accionamiento si el rendimiento mecánico de la máquina es de 0,75.
c. Dibujar el símbolo y explicar el funcionamiento dentro de un circuito neumático, de la válvula reguladora de caudal.
125.- En una prensa hidráulica, el émbolo mayor tiene un diámetro de 60 cm y el menor de 10 cm.
Se pide:
a. ¿Qué fuerza debe aplicarse al émbolo pequeño para elevar un vehículo de 1500 kg de masa?
b. Si el émbolo grande se desplaza 1 cm, ¿Cuánto se desplazará el émbolo pequeño?
c. ¿Para qué se calcula el número de Reynolds en una conducción hidráulica? ¿Cómo se calcula?
126.- El control automático de una taladradora se realiza mediante un cilindro de doble efecto con una fuerza nominal de avance de 2000 N y una fuerza nominal de retroceso de 1600 N, siendo la presión de trabajo de 6·105 Pa y las pérdidas por rozamiento del 10 % de la nominal. Se pide:
a. Calcular el diámetro del émbolo.
b. Calcular el diámetro del vástago.
c. Definir los conceptos de caudal y flujo laminar.
127.- Una máquina neumática dispone de un cilindro de doble efecto cuyas características son: carrera 20 cm, diámetro del émbolo 12,5 cm, diámetro del vástago 3 cm. El cilindro está alimentado con una presión de trabajo de 3 MPa y realiza 200 ciclos por hora. Se pide:
a. Calcular la fuerza de avance y la fuerza de retroceso del cilindro.
b. Calcular el caudal de aire necesario para el funcionamiento a la presión de trabajo en m3/min .
c. Explicar el fenómeno de la cavitación.
128.- En la línea de producción de una fábrica se utiliza un cilindro de simple efecto para empujar las piezas elaboradas hacia un contenedor. La fuerza que debe ejercer el vástago sobre las piezas es de 633 N, el diámetro del émbolo es de 40 mm, la fuerza de rozamiento en el avance es de 75 N y la fuerza de recuperación del muelle de 45 N. Se pide:
a. Calcular la fuerza teórica de avance.
b. Calcular la presión de trabajo.
c. Enunciar el teorema de Bernoulli para conducciones horizontales.
129.- Por una tubería horizontal de 20 mm de diámetro circula un líquido a una velocidad de 3 m/s.
Se pide:
a. Calcular el caudal en dm3/min.
b. Calcular la velocidad del líquido en otra sección de la misma tubería de 1 cm de diámetro.
c. Diferencias entre sistemas neumáticos e hidráulicos.
130.- Se dispone de un cilindro de doble efecto que trabaja a una presión de 5·105 Pa. El vástago tiene 28 mm de diámetro y el rendimiento es del 85 %. Se pide:
a. Calcular el diámetro del cilindro para obtener una fuerza efectiva de avance de 8.435 N.
b. Calcular la fuerza efectiva en el retroceso.
c. Representar simbólicamente las siguientes válvulas: Válvula 3/2 normalmente cerrada, accionada por rodillo y retorno por muelle; válvula 4/2 accionada mediante pulsador y retorno por muelle.
131.- Un cilindro de doble efecto trabaja a una presión de 25 MPa y tiene un rendimiento del 85 %. El diámetro del émbolo es 6 cm, el del vástago 3 cm y la carrera 18 cm. El cilindro realiza 5 ciclos por minuto. Se pide:
a. Calcular las fuerzas efectivas de avance y retroceso del vástago.
b. Calcular el consumo de fluido hidráulico en una hora.
c. Tipos de compresores.
132.- Una prensa hidráulica consta de tres émbolos de superficies 0,15 m2 (A), 0,35 m2 (B) y 0,5 m2 (C). Si en el émbolo B se ejerce una fuerza de 70 N, se pide:
a. Determinar la presión sobre los émbolos A y C.
b. Calcular la fuerza que ejercen los émbolos A y C.
c. Describa la función de una válvula limitadora de presión en un circuito neumático.

133.- Un cilindro de doble efecto con una carrera de de 10 cm, ejerce en el avance una fuerza de 7200 N. Se pide:
a. Calcular el diámetro que tiene el vástago si la tensión que soporta es de 4000 kPa.
b. Calcular el diámetro del émbolo teniendo en cuenta que el consumo de aire medido a la presión de trabajo, es de 1 litro por ciclo.
c. Indicar cómo se puede calcular la potencia hidráulica en función del caudal y cuáles son las unidades en el S.I. de todas las magnitudes que intervienen en el cálculo.
134.- Una tubería horizontal de 200 mm de diámetro conduce agua a una velocidad de 6 m/s y una presión de 40 kPa. La tubería tiene un estrechamiento, siendo la presión en el mismo de 8 kPa.
La densidad del agua es 1.000 kg/m3. Se pide:
a. Calcular la velocidad del agua en el estrechamiento.
b. Calcular el diámetro del estrechamiento.
c. Enunciar la ecuación de continuidad y su expresión matemática.
135.- Un líquido no viscoso, de densidad 900 kg/m3 circula por una tubería horizontal con un caudal de 2 L/s. La tubería tiene dos secciones transversales. Una de 10 cm de diámetro y otra más estrecha de diámetro desconocido. La presión es de 30 kp/cm2 en el tramo de 10 cm de diámetro y de 6 kp/cm2 en el tramo más estrecho. Se pide:
a. Calcular la velocidad en los dos tramos de la tubería.
b. Calcular la sección transversal del tramo de menor diámetro.
c. Expresión de la potencia hidráulica y unidades en que se mide.
136.- Se desea bombear un disolvente orgánico a una velocidad de 20 m/s y una presión de 12 MPa. El diámetro de la conducción es de 1,5 cm. Se pide:
a. Calcular el caudal que circula por la tubería en m3/s y en L/min.
b. Calcular la potencia absorbida por la bomba, suponiendo un rendimiento del 80 %.
c. Explicar la diferencia entre régimen laminar y régimen turbulento.