Ahora vamos a estudiar el comportamiento de los receptores elementales cuando son sometidos a una corriente alterna. Dentro de la multitud de receptores que se pueden construir existen tres elementos claramente diferenciados. Nos referimos a las resistencias, bobinas y condensadores. Estos receptores se comportan de diferente manera, según se les aplique corriente continua o alterna.
1.4. Receptores elementales en corriente alterna
1.4.1. Circuito con resistencia pura
Los circuitos con resistencia aparecen prácticamente en todo tipo de receptores, ya que hay que tener en cuenta que los propios conductores con los que se diseñan los receptores siempre poseen algo de resistencia. Por supuesto, los receptores que utilizan básicamente las resistencias son los calefactores.
En corriente continua: Recordemos que cuando una corriente continua fluye por una resistencia, ésta se calienta. Para calcular el valor de la corriente aplicamos la ley de Ohm:

- I = Intensidad en amperios
- V = Tensión en voltios
- R = Resistencia en ohmios
La potencia que aparece en la resistencia se transforma en energía calorífica y se calcula mediante la expresiones:

P = Potencia en vatios
En corriente alterna: Una resistencia pura se comporta de forma similar en corriente alterna que en continua. En este caso también se cumple la ley de Ohm, pero ahora se aplica con los valores eficaces de la corriente y la tensión, que son los que indicarían un amperímetro y un voltímetro, respectivamente (Figura 12.11).

De esta manera, se puede deducir que, para una tensión determinada aplicada a una resistencia, la intensidad eficaz que aparece en corriente alterna es del mismo valor que la intensidad de corriente continua que recorre el mismo circuito. Es por eso que la potencia que se desarrolla en C.A. es igual que la que se desarrolla en C.C., hecho que se puede comprobar experimentalmente. Si conectamos un vatímetro para medir la potencia a la que trabaja una resistencia óhmica pura, podremos verificar que la lectura del vatímetro es la misma para C.C. que para C.A., siempre y cuando utilicemos los mismos valores de tensión e intensidad en C.C. que los eficaces de C.A.

Dado que la tensión que aplicamos a la resistencia varía según la forma de una senoide, si aplicásemos la ley de Ohm a todos estos valores, obtendremos una intensidad de corriente eléctrica que también es una senoide, tal como se muestra en la Figura 12.12.

Si observamos detenidamente la representación gráfica de la tensión e intensidad podremos comprobar que, cuando el valor de la tensión "V" aumenta o disminuye, también lo hace el de la corriente "I", alcanzando los valores máximos y nulos en el mismo instante de tiempo. En este caso se puede decir que la corriente y la tensión están en fase. En el gráfico inferior de la Figura 12.12 se ha representado el diagrama vectorial de V y de I. Estas magnitudes aparecen dibujadas como dos vectores que giran a la velocidad ω en el sentido contrario a las agujas de un reloj; el valor instantáneo de las mismas es el que correspondería a la proyección de estos vectores en el eje Y. Para que la representación sea correcta es necesario dibujar estos vectores con una longitud que sea proporcional a los valores de la tensión e intensidad.

Ejercicio D.0.19. Determinar la corriente y potencia que aparecerán en una resistencia pura de 50 ohmios si la sometemos a una tensión alterna senoidal de 220 v. Dibujar el diagrama vectorial.
1.4.2. Circuito con bobina
Las bobinas están presentes en todos aquellos receptores en los que sea necesario la producción de un campo magnético. Nos referimos a los electroimanes, contactores, motores, reactancias de arranque de lámparas de descarga (fluorescentes, vapor de mercurio, vapor de sodio, etc.), transformadores, etc.
Para el estudio del comportamiento de la bobina vamos a partir del hecho de que su resistencia es cero. Hecho, que corno se podrá entender, es en la mayoría de las aplicaciones falso, ya que los conductores con los que se construyen habitualmente las bobinas son de cobre, por lo que siempre tienen una determinada resistencia.
En corriente continua: Si conectamos una bobina a una tensión continua, en ella aparece una corriente eléctrica que queda únicamente limitada por la resistencia que posean los conductores con los que haya sido fabricada. Según la ley de Ohm: I = V / R. Dado que esta resistencia suele ser pequeña, si aplicamos una tensión elevada a la bobina, aparece una fuerte corriente por la misma, desarrollándose una fuerte potencia que puede llegar a destruirla por el fuerte calor generado.
En corriente alterna: Si conectamos la misma bobina a una tensión alterna, se puede comprobar experimentalmente que ahora la corriente que fluye por la misma es más bien moderada. Si conectamos un vatímetro podríamos comprobar que el consumo de potencia es prácticamente nulo, a pesar de la existencia de una cierta corriente. De aquí se puede sacar la conclusión de que la bobina desarrolla una cierta oposición a la corriente eléctrica de carácter diferente a la resistencia óhmica.
Todos estos fenómenos se deben al efecto de autoinducción de la bobina:
Cuando la bobina es recorrida por una corriente alterna, aparece una corriente variable, y por tanto un campo magnético también variable (Figura 14). Dado que las líneas de fuerza del flujo magnético, que ella misma genera, cortan a sus propios conductores, surge una f.e.m. de autoinducción que, según la ley de Lenz, se va a oponer a la causa que la produjo. Es decir, se opone en todo momento a los cambios de corriente.

Cuando la corriente, siguiendo las variaciones de la función senoidal, tiende a crecer, el campo magnético también lo hace. Aparece entonces una f.e.m. que se opone a que la corriente se establezca, provocando un efecto de retraso en la corriente eléctrica respecto de la tensión (al conectar una bobina a una tensión alterna, la tensión aparece inmediatamente, mientras que la corriente tarda un cierto tiempo en establecerse). En estas condiciones la bobina se está cargando de energía en forma de campo magnético creciente.
Cuando la corriente se ha establecido con su valor máximo por la bobina, la f.e.m. de autoinducción se hace cero. Pero cuando la corriente empieza a disminuir, también lo hace el campo, y entonces se genera una f.e.m. de autoinducción de tal sentido que se opone a que la corriente desaparezca. Ahora la bobina descarga hacia el generador la energía que había acumulado en forma de campo magnético decreciente. Realmente, una bobina pura (sin resistencia óhmica) devuelve toda la energía que ha utilizado para crear el campo magnético y, en consecuencia, la potencia media que consume es cero.
En la figura 15 se ha representado a la corriente eléctrica con un retraso de 90° respecto de la tensión. Observa cómo, efectivamente, cuando la intensidad quiere crecer la tensión es máxima, siendo en este momento cuando se carga la bobina.

En este caso se dice que la intensidad está desfasada en retraso respecto a la tensión en un cuarto de ciclo, es decir ángulo φ de 90°.
Una bobina pura retrasa un ángulo de 90° a la corriente respecto de la tensión.
Reactancia inductiva de una bobina
Como la oposición que presenta la bobina a la corriente alterna tiene que ver con los fenómenos de autoinducción, ésta será mayor cuanto mayor sea el coeficiente de autoinducción "L" y más rápidas sean las variaciones de la corriente alterna, es decir la frecuencia "f". Si llamamos reactancia inductiva XL a la oposición que presenta la bobina a la corriente, tendremos que:

Potencia en una bobina
Tal como indicábamos al principio de este tema, si se mide la potencia de una bobina pura al aplicarla una C.A., se puede comprobar que el vatímetro indica una potencia igual a cero. Al contrario que ocurre en una resistencia, en una bobina pura no se produce ningún consumo de energía calorífica. La corriente.que recorre la bobina sirve únicamente para generar el campo magnético.
En realidad lo que ocurre es que, al intentar crecer la corriente por la bobina, también lo hace el campo magnético, produciéndose un consumo de energía eléctrica. En este caso la energía fluye del generador de C.A. hacia la bobina y es cuando decimos que ésta se está cargando de energía electromagnética. Una vez alcanzada la corriente máxima y el flujo máximo, éstos tienden a disminuir siguiendo la trayectoria senoidal, desarrollándose una f.e.m. de autoinducción de tal sentido que genera una energía eléctrica que, ahora, fluye desde la bobina hacia el generador. En este caso, la bobina devuelve la energía al generador. De esta manera tenemos que la bobina no consume realmente la energía, simplemente la toma prestada durante un cuarto de ciclo para generar su campo electromagnético, para devolverla en el siguiente cuarto de ciclo. donde se observa que la potencia media es cero (potencia activa igual a cero). En el semiciclo positivo el generador cede energía a la bobina y en el negativo, la bobina devuelve esta energía al generador.

Estas afirmaciones se pueden comprobar al obtener la potencia instantánea en una bobina ( p = v · i ), tal como se muestra en la figura
Dado que el vatímetro mide el valor medio de la potencia y ésta es positiva durante un cuarto de ciclo y negativa en el siguiente, éste no indica ninguna potencia. Aunque la bobina no consuma energía real para su funcionamiento, las constantes cargas y descargas de la misma hacen que circule una determinada corriente por los conductores y, por tanto, también aparece una potencia que fluctúa por los mismos, que llamaremos potencia reactiva (QL).
En una bobina: QL = XL · I2 (VAR) (volti-amperios-reactivos)
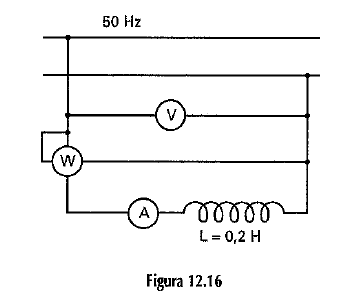
Ejercicio D.0.20. Se conecta una bobina con un coeficiente de autoinducción de 0,2 henrios a una red de C.A. de 50 Hz, tal como se muestra en la Figura 12.16. Si el voltímetro indica una tensión de 125 V, averiguar las lecturas del amperímetro y el vatímetro, así como la potencia reactiva de la bobina. Dibujar el diagrama vectorial

1.4.3. Circuito con condensador
Los condensadores no son receptores que se utilicen tan habitualmente en C.A. como las resistencias y las bobinas. Sin embargo son muy útiles, por ejemplo, para contrarrestar los fenómenos negativos que producen las potencias reactivas de las bobinas.
En corriente continua. Cuando aplicamos C.C. a un condensador, éste se carga de energía eléctrica, haciendo fluir corriente eléctrica por el circuito sólo durante dicha carga. De esta forma, se puede decir que un condensador no permite el paso de la corriente continua.
En corriente alterna. Si conectamos un condensador a una tensión alterna (figura 18), se puede comprobar experimentalmente que ahora sí fluye corriente de una forma constante. Si conectásemos un vatímetro, al igual que ocurre con el circuito con bobina, podríamos comprobar como el consumo de potencia es nulo, a pesar de la existencia de una cierta corriente. De aquí se puede sacar la conclusión de que el condensador, lo mismo que la bobina, no consume potencia.

Estudiemos con detenimiento los fenómenos que se dan.
Cuando aplicamos la tensión al condensador, como éste está totalmente descargado, aparece en el mismo una fuerte corriente de carga. Según se carga el condensador, la tensión que aparece en el mismo va aumentando mientras disminuye la corriente. Cuando se completa la carga la corriente es cero y la tensión alcanza su valor máximo. Se habrá podido observar en esta explicación, que en un condensador primero aparece la corriente, siendo la tensión cero (nivel de carga inicial cero) y según se va cargando el mismo la tensión crece y la corriente disminuye. Por esta razón, se puede decir que el condensador adelanta la corriente en el tiempo respecto de la tensión. En el diagrama vectorial este desfase se corresponde a un ángulo de 90° en ciclo (Figura 19).
Cuando la tensión aplicada al condensador comienza su descenso, éste descarga la energía acumulada en el 1/4 de ciclo anterior, apareciendo una corriente de descarga por el circuito.

- Un condensador puro adelanta un ángulo de 90° a la corriente respecto de la tensión.
Reactancia capacitiva de un condensador
Un condensador, en C.A., hace que fluya constantemente una corriente eléctrica por el circuito debido a las constantes cargas y descargas del mismo. Es importante hacer notar que esta corriente nunca llega a atravesar el dieléctrico del condensador, pero sí existe por los conductores que lo alimentan.
Como el establecimiento de la corriente eléctrica en un condensador cuando le es aplicado una C.A. tiene que ver con los fenómenos de carga y descarga del mismo, dicha corriente será mayor cuanto mayor sea la capacidad del condensador y más rápidas sean dichas cargas y descargas, es decir la frecuencia f. Si llamarnos reactancia capacitiva Xc a la oposición que presenta el condensador a la corriente, tendremos que:

Para calcular el valor eficaz de la corriente en un condensador aplicaremos la expresión similar a la ley de Ohm.
Potencia en un condensador
Al igual que ocurre con la bobina, si se mide con un vatímetro la potencia de un condensador al conectarlo a una C.A., se puede comprobar que éste indica una potencia igual a cero.
En un condensador tampoco se produce ningún consumo de energía calorífica. Este hecho se debe a que en el primer cuarto de ciclo el condensador se carga de energía eléctrica en forma de carga electrostática, por lo que la energía fluye del generador de C.A. al condensador. En el siguiente cuarto de ciclo el condensador se descarga hacia el generador, devolviendo al mismo la energía acumulada. Al igual que con la bobina, el condensador no consume realmente la energía, simplemente la toma prestada durante un cuarto de ciclo, para devolverla en el siguiente cuarto de ciclo. Por esta razón el vatímetro, que indica el valor medio de la potencia instantánea, indica una potencia igual a cero.
Estas afirmaciones también se pueden comprobar al obtener la potencia instantánea en el condensador ( p = v · i ), tal como se muestra en la figura 23 donde se observa que la potencia media es cero ( potencia activa igual a cero). En el semiciclo positivo el generador cede energía al condensador y en el negativo, el condensador devuelve esta energía al generador.

La corriente que fluye hacia el condensador sirve sólo para producir las cargas y descargas constantes del mismo. Además, aquí también aparece una potencia reactiva Qc producida por la energía que se intercambia entre el condensador y el generador.
En un condensador Qc = Xc · I2 (VAR) (volti-amperios reactivos).
Se puede comprobar que cuando la bobina descarga su energía eléctrica acumulada en forma de campo electromagnético, se produce el ciclo de carga del condensador. En conclusión, se puede decir que la potencia reactiva del condensador es negativa respecto a la bobina y que, por tanto sus efectos se compensan. Este aspecto habrá que tenerlo en cuenta cuando conectemos en un mismo circuito bobinas con condensadores.
Ejercicio D.0.21. Se conecta un condensador de 75 μF una red de C.A. de 50 Hz, tal como se muestra en la Figura 12.20. Si el voltímetro indica una tensión de 220 v, averiguar las lecturas del amperímetro y el vatímetro, así como la potencia reactiva del condensador. Dibujar el diagrama vectorial.

1.4.4. Resúmen de los efectos producidos por receptores elementales

Obra publicada con Licencia Creative Commons Reconocimiento Compartir igual 4.0